John Deere 1775NT 16-Row Planter Diagnostic Test Manual TM139419
Language: English
Format: PDF
Document: Diagnostic Test Manual
Machine: 16-Row Planter
Machine Model: 1775NT 16ROW (SN. 760100-770111) with ExactEmerge Row Units
Pages: 1110 Pages
Part Number: TM139419
Contents:
Foreword
General Information
Safety
Lubricants
Recommended Tools for Diagnostics
Basic Diagnostics
Diagnostic Information for Electrical Components
Diagnostic Information for Hydraulic Components
Maintaining Hydraulic Systems and Components
Standard Torque Chart Procedures
Acronym Table
Diagnostic Trouble Codes
Accessing Diagnostic Trouble Codes
Electric Power Generation (EPG) Codes
Inertial Measurement Unit (IMU) Codes
JDLink (JDL) Codes
Meter Master Controller (MMC) Codes
Planter Assist Controller (PAC) Codes
Row Cleaner Control (RCC) Codes
Row Unit Controller (RUC) Codes
Observable Symptom and System Diagnostics
Observable Symptoms
Electrical
General Information
Theory of Operation
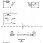
Schematic
Diagnostics
Electronic Control Units
General Information
Diagnostic Addresses by Control Unit
Diagnostic Test and Adjustments
Electrical Component Information
Electrical Assemblies
Sensors
Lights
Fuses
Charging
Relays
Motors
Resistors
Switches
Interconnects and Ground Points
Electronically Actuated Mechanical Devices
Hydraulics
General Information
Theory of Operation
Schematic
Diagnostics
Hydraulics Component Information
General Information
Accumulators
Sensor or Gauge
Cylinder, Actuator, or Piston
Check Valve
Filter
Valve Block, Assembly, or Gearcase
Cooler
Motor
Orifice
Reservoir or Tank
Valve
Diagnostic Receptacle or Coupler
Solenoid Valve
Pneumatics
Theory of Operation
Schematics
Diagnostics
Pneumatics Component Information
Accumulators
Sensors
Check Valves
Filters
Assembly Groups
Pumps
Reservoirs
Valves
Solenoid Valves




