John Deere 330LC 370 Excavator Logger Repair Technical Manual Supplement TM1911
Language: English
Format: PDF
Document: Repair Technical Manual Supplement
Machine: Excavator Logger
Machine Model: 330LC, 370 (SN. 081001-)
Pages: 384 Pages
Part Number: TM1911
Contents:
Foreword
Technical Information Feedback Form
General Information
Safety
General Specifications
Torque Values
Fuels and Lubricants
Tracks
Track System
Axles and Suspension Systems
Axle Shaft, Bearings, and Reduction Gears
Hydraulic System
Engine Auxiliary Systems
Cold Weather Starting Aids
Speed Controls
External Exhaust Systems
External Fuel Supply Systems
Electrical System
Batteries, Support, and Cables
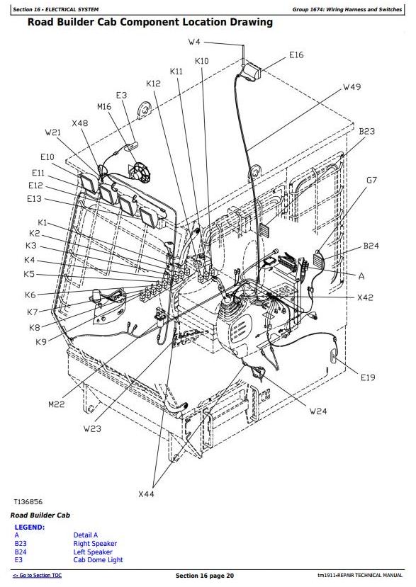
Wiring Harness and Switches
System Controls
Frame or Supporting Structure
Frame Installation
Frame Bottom Guards
Chassis Weights
Operator's Station
Removal and Installation
Operator Enclosure
Steps and Handholds
Heating and Air Conditioning
Sheet Metal and Styling
Miscellaneous Shields
Safety and Convenience
Fire Extinguisher
Horn and Warning Devices
Pneumatic Systems
Removal and Installation
Excavator
Frame
Hydraulic System
Dealer Fabricated Tools
Dealer Fabricated Tools




