John Deere 644J 724J 4WD Loader Repair Technical Manual TM2076
Language: English
Format: PDF
Document: Repair Technical Manual
Machine: Loader
Machine Model: 644J (SN. before 611231), 724J (SN. before 611218)
Pages: 398 Pages
Part Number: TM2076
Contents:
Foreword
Technical Information Feedback Form
General Information
Safety Information
Wheels
Powered Wheels And Fasteners
Axles And Suspension Systems
Removal And Installation
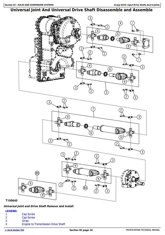
Input Drive Shafts And U-Joints
Axle Shaft, Bearings, And Reduction Gears
Hydraulic System
Transmission
Removal And Installation
Gears, Shafts, Bearings And Power Shift Clutch
Hydraulic System
Engine
Removal And Installation
Engine Auxiliary Systems
Cold Weather Starting Aids
Cooling System
Speed Controls
Intake System
External Exhaust System
External Fuel Supply Systems
Dampener Drive
Elements
Steering System
Hydraulic System
Service Brakes
Active Elements
Hydraulic System
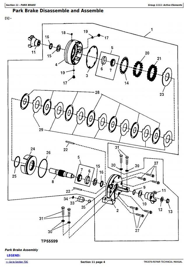
Park Brake
Active Elements
Hydraulic System
Frame Or Supporting Structure
Frame Installation
Frame Bottom Guards
Chassis Weights
Operator’s Station
Removal And Installation
Operator Enclosure
Heating And Air Conditioning
Sheet Metal And Styling
Hood Or Engine Enclosure
Grille And Grille Housing
Loader
Bucket
Frame
Hydraulic System
Dealer Fabricated Tools
Dealer Fabricated Tools




