John Deere 653G Feller Buncher Repair Technical Manual TM1775
Language: English
Format: PDF
Document: Repair Technical Manual
Machine: Feller Buncher
Machine Model: 653G (SN. before 880059)
Pages: 593 Pages
Part Number: TM1775
Contents:
Foreword
Technical Information Feedback Form
General Information
Safety
General Specifications
Torque Values
Fuels and Lubricants
Tracks
Track System
Axles and Suspension Systems (Propel)
Axle Shaft, Bearings, and Reduction Gears
Hydraulic System
Engine
Removal and Installation
Engine Auxiliary Systems
Cold Weather Starting Aids
Cooling System
Speed Controls
Intake System
External Fuel Supply Systems
Dampener Drive (Flex Coupling)
Elements
Electrical System
Batteries, Support and Cables
Alternator, Regulator and Charging System Wiring
Wiring Harness and Switches
Instruments and Indicators
Frame, Chassis or Supporting Structure
Frame Installation
Chassis Weights
Operator’s Station
Removal and Installation
Seat and Seat Belt
Heating and Air Conditioning
Safety, Convenience, and Miscellaneous
Horn and Warning Devices
Feller Buncher
Frame
Hydraulic System
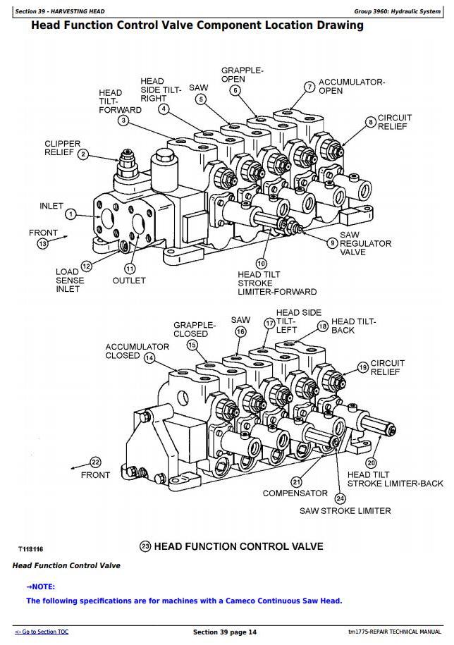
Harvesting Head
Hydraulic System
Swing or Pivoting System
Swing Brake
Mechanical Drive Elements
Hydraulic System
Dealer Fabricated Tools
Dealer Fabricated Tools




