John Deere 7505 2WD MFWD Tractor Repair Manual TM4868
Language: English
Format: PDF
Document: Repair Manual
Machine: Tractor
Machine Model: 7505
Pages: 643 Pages
Part Number: TM4868
Contents:
Safety
PowrQuad Transmission
Separating and Installing Components
Transmission Activation
PowrQuad Box
Group Gearbox
Power Transmission (no transmission)
Separating and Installing Components
Transmission Shaft and Torsion Damper
Front Wheel Drive Clutch
Differential
Hydraulic Pump Transmission
Final reductions
Power Take-Off
Steering and Brakes
Hydrostatic Steering
Brake Valve
Brake Disks
Hydraulic system
Remote Control Valve Controls - RCV
Remote Control Connections and Valves
Hydraulic Control Valves
Hydraulic Lift Valve
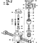
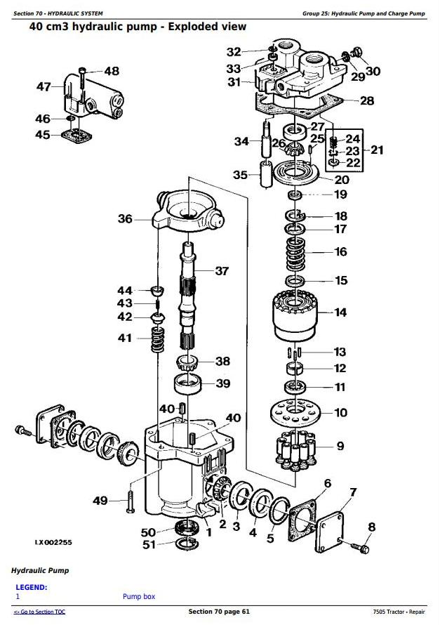
Hydraulic Pump and Charge Pump
Gear pump - (Eaton)
Gear Pump - (Albarus)
Traction/Lift Cylinder Sensor
Front Traction Shaft APL 359
Special Tools
Technical Data and Adjustment Values
Disassembly
Assembling the differential
Pinion depth
Adjusting the play between the teeth
Assembling the Bridges
Assembling the Universal Joint
PTO
Assembling the Hydraulic Cylinder
Convergence Regulation
Separation and Installation of the Front Shaft
Main Chassis
Front Axle Support
Front and Rear Wheels
Traction bar
Front Axle AS 2060
Disassembling the Steering Column
Final Reducer
Articulation
Differential
Operator Platform and Cab
Removing and Installing the Operator Platform
Air-conditioning System
Heating System
Cab
Various
Special Tools
Custom-made Tools




