John Deere 862B Scraper Operation Test Manual TM1569
Language: English
Format: PDF
Document: Operation Test Manual
Machine: Scraper
Machine Model: 862B (SN. from 793083-)
Pages: 611 Pages
Part Number: TM1569
Contents:
Foreword
General Information
Safety
General Specifications
Torque Values
Fuels And Lubricants
Operational Checkout Procedure
Operational Checkout Procedure
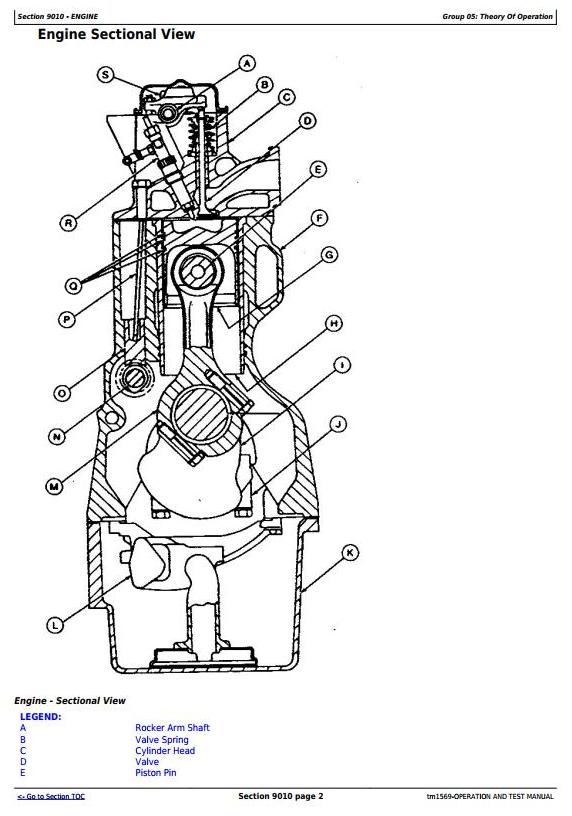
Engine
Theory Of Operation
Diagnostic Information
Adjustments
Test
Electrical System
System Information
System Diagrams
Sub-System Diagnostics
Adjustments And Additional Information
Power Train
Theory Of Operation
Diagnostic Information
Adjustments
Test
Hydraulic System
Theory Of Operation
Diagnostic Information
Adjustments
Test
Heating And A/C
Theory Of Operation
System Operational Checks
Diagnostic Information
Adjustments
Test




